
Julius Keilwerth saxophones are known for many things: their huge sound; big bells; accurate intonation; sturdy build; longevity; and big MOP key touches. But something you likely didn’t know, is that JK got a Gebrauchsmuster (GebrM), AKA German utility model, for those key touches in 1962.
What is a Gebrauchsmuster (GebrM)?
A German utility model, is NOT the same as a patent. To avoid this becoming a lengthy legal description of German utility model vs patent, suffice to say the two legal protections are quite different.
 |
German utility model |
Patent |
What’s protected? |
Product |
Process, methods, & product |
Protection term |
Max. 10 years from registration date |
Max. 20 years from date of application filing |
Substantive examination? |
No |
Yes |
Cost |
Low |
High |
Publication of invention |
2-3 months |
18 months |
JK’s use of a GebrM makes sense since simply putting these MOP key touches on a horn makes them public, and allows competitors to see them. The German utility model has a grace period, which is described as follows:
The German Utility Model enjoys a grace period of six months for own publication and prior usage. This means that, if you have disclosed your invention, you can still file a utility model application within six months after your invention has been disclosed or used by you (i.e. the applicant or its legal predecessor) and your utility model will be a valid protection right.
Source: www.kspartner.de
Furthermore, as a German patent lawyer writes:
In practice the German utility model is often used as a means for enforcing rights quickly in infringement litigation. This is particularly important for innovators in fast-moving businesses whose products are copied almost as soon as they appear on the market [emphasis added] and hence need to be protected quickly, long before a parallel patent is granted.
Source: www.bardehle.com
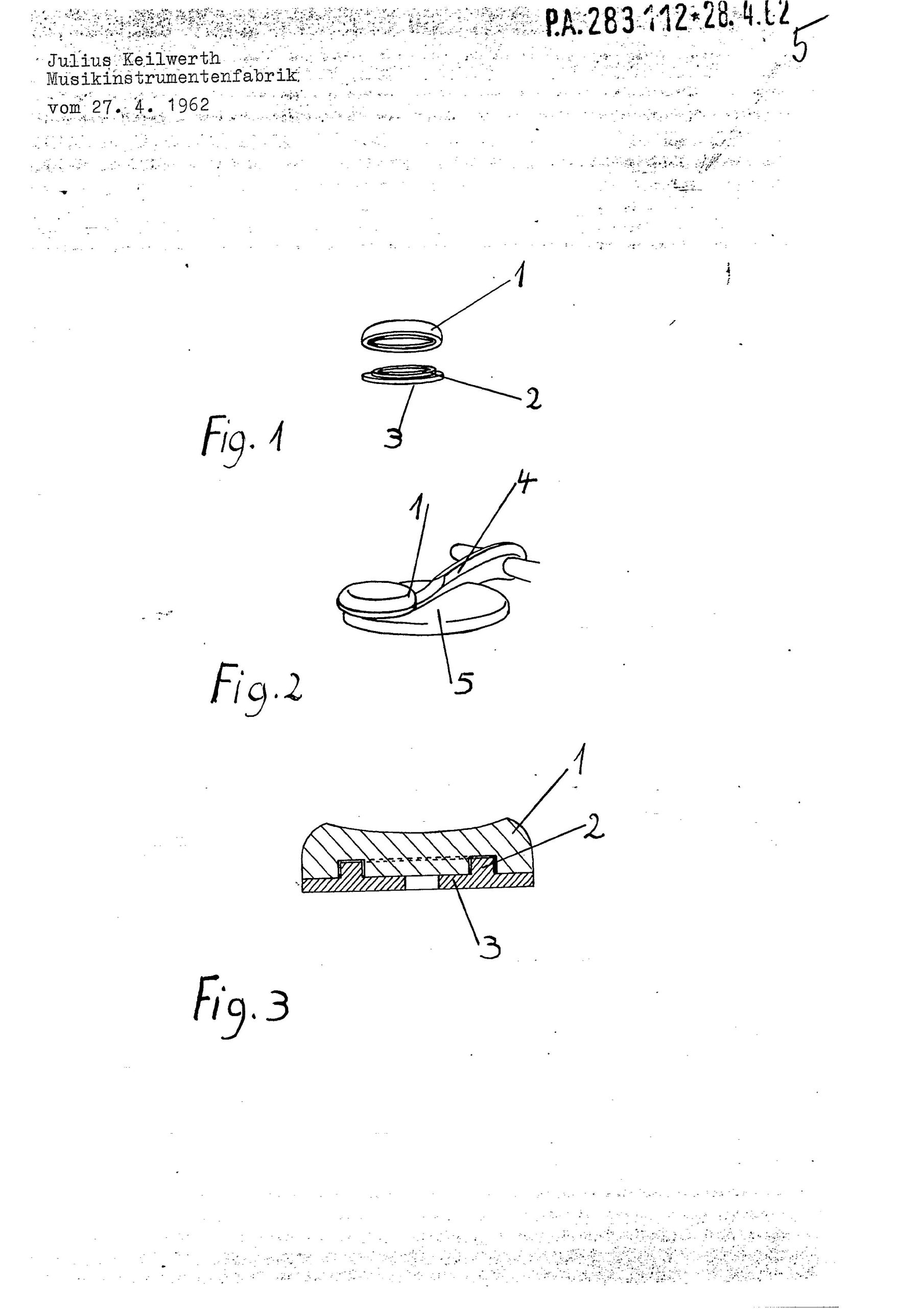
Original GebrM description
The original GebrM documents on the European patent website are only in German, and contain 1 page of drawings. I’ve translated the text into English for you:
Saxophone
The invention relates to a saxophone equipped with keys covered with mother-of-pearl touches.
In the case of the well-known mother-of-pearl key touches, the fastening is carried out in such a way that the mother-of-pearl plates themselves are set in bowls or pans. As a result, the edge of the mother-of-pearl plate is surrounded by a metal strip around its entire circumference.
When touching the plates, these metal strips on the edges proved to be extremely annoying. It was not possible for the player to touch only the mother-of-pearl tiles, which were used because of their favorable material properties. Players were also being forced to grasp the metal strips on the edges.
The saxophone according to this invention, also has mother-of-pearl finger plates. In contrast to the known designs however, the mother-of-pearl finger plates are attached to the metal holder exclusively on the back without a metal border.
It is also advisable to increase the diameter of the mother-of-pearl plates so that it corresponds to the dimensions of the familiar grip plates with metal edges. This significantly increases the safety of the grip.
The drawing shows schematic examples of the invention. It shows:
Figure 1. A single grip plate according to the invention, before the individual parts are assembled, in perspective.
Figure 2. The grip plate attached to the bracket and the key.
Figure 3. Side view of grip plate equipped according to the invention, shown in cross section.
As figures 1 and 3 show, the mother-of-pearl plate 1 is designed in such a way that its edge encloses the metal bracket 3, which is fitted with a ring 2. The figures show that in this way, the fastening is carried out exclusively on the underside, and there is no longer any distracting metal edge or metal strip.
Figure 2 shows the attachment of a mother-of-pearl plate 1 to the lever mechanism 4 on a key 5.
Protection claim
Saxophone with mother-of-pearl finger plates, characterized in that the mother-of-pearl plates of the keys are attached to the metal holder exclusively on the back without a metal rim.
Original GebrM drawings
Samples over time
I’m not at all sure when the Julius Keilwerth company began using these large MOP key touches, but according to JK’s own serial # chart, 1962 horns are cira 42751 – 45750. This would indicate that we would likely be seeing these MOP touches circa 42xxx. Furthermore, given that we now know from my extensive H. Couf research that this particular feature was reserved for the Superba I, it wouldn’t be surprising if we didn’t see JK stencils and lesser-models with rimmed MOP keys.
The earliest large MOP key touch I have catalogued is on Toneking Special tenor #49375. It was for sale a few years ago by my colleague Brian over at Get A Sax—another JK enthusiast. ![]()
Some stencils did have these large MOP key touches. Stencils such as: Couf Superba I; some Van Hall; and Richard Keilwerth Solo (some). As you can see from the last 2 images in this gallery, even the EX series got this large pearls. This I found quite surprising.
Past models
Current production models
The large, MOP key touches remain a well-known feature of Julius Keilwerth saxophones to this day, with all current professional production models sporting them. Even the 100th Anniversary SX90R alto and tenor had these large, rimless key touches, but they were made of ebony, rather than the traditional MOP.
What I found most surprising, is that the current production model student level ST110 alto has the large, real, rimless MOP key touches, while its tenor and soprano counterparts do not. Go figure. ![]()
Sources:
I used quite a few sources in researching this material. They include:
https://en.wikipedia.org.
https://www.julius-keilwerth.com/en/


